73 Lượt xem
Trong các hệ thống sản xuất và vận hành công nghiệp hiện đại, việc kiểm soát lưu lượng chất lỏng đóng vai trò cực kỳ quan trọng. Một thiết bị đo lường chính xác không chỉ giúp tối ưu hóa hiệu suất mà còn góp phần tiết kiệm chi phí và đảm bảo an toàn vận hành. Trong số các thiết bị đo lưu lượng hiện nay, đồng hồ lưu lượng F820s Series được đánh giá là giải pháp hiệu quả, đáng tin cậy và phù hợp với nhiều ứng dụng khác nhau.
Đồng hồ lưu lượng F820s Series là thiết bị chuyên dùng để đo lưu lượng chất lỏng trong đường ống. Với thiết kế hiện đại, độ chính xác cao và khả năng hoạt động bền bỉ, thiết bị này được ứng dụng rộng rãi trong các ngành công nghiệp như xử lý nước, hóa chất, thực phẩm và năng lượng.
F820s Series được thiết kế nhằm đáp ứng các tiêu chuẩn kỹ thuật khắt khe, đảm bảo khả năng đo lường ổn định ngay cả trong điều kiện môi trường khắc nghiệt. Nhờ đó, người dùng có thể dễ dàng theo dõi và kiểm soát lưu lượng một cách chính xác.
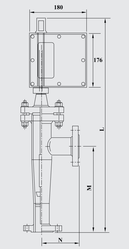
Model: F821, F822, F823, F824, F825, F826, F827
+) F820 :


+) F821 :


+) F822 :


+) F823 :


+) F824 :


+) F825 :


Đồng hồ lưu lượng F820s Series hoạt động dựa trên nguyên lý đo lưu lượng tiên tiến (tùy theo phiên bản có thể là điện từ, siêu âm hoặc cơ học). Khi chất lỏng đi qua thiết bị, các cảm biến sẽ ghi nhận tín hiệu và chuyển đổi thành dữ liệu lưu lượng.
Tín hiệu này sau đó được xử lý và hiển thị dưới dạng số trên màn hình hoặc truyền về hệ thống điều khiển trung tâm. Nhờ đó, người vận hành có thể giám sát liên tục và đưa ra điều chỉnh kịp thời.
Ngoài ra, thiết bị còn hỗ trợ kết nối với các hệ thống tự động hóa, giúp nâng cao hiệu quả quản lý và vận hành.
Đồng hồ lưu lượng F820s Series được sử dụng rộng rãi trong nhiều lĩnh vực:
Nhờ tính linh hoạt cao, thiết bị này có thể đáp ứng nhu cầu của cả hệ thống nhỏ lẫn quy mô lớn.
Việc lựa chọn một thiết bị đo lưu lượng phù hợp là yếu tố quan trọng ảnh hưởng đến hiệu quả vận hành của toàn bộ hệ thống. F820s Series là lựa chọn đáng cân nhắc nhờ những lợi ích sau:
Không chỉ vậy, thiết bị còn giúp doanh nghiệp nâng cao khả năng quản lý và kiểm soát chất lượng trong sản xuất.
Để đảm bảo thiết bị hoạt động hiệu quả, cần lưu ý:
Việc tuân thủ đúng hướng dẫn sẽ giúp kéo dài tuổi thọ và duy trì độ chính xác của thiết bị.
Đồng hồ lưu lượng F820s Series là giải pháp lý tưởng cho các hệ thống cần đo lường lưu lượng chính xác và ổn định. Với thiết kế hiện đại, khả năng hoạt động bền bỉ và tính ứng dụng cao, thiết bị này đang ngày càng được nhiều doanh nghiệp tin tưởng lựa chọn.
Nếu bạn đang tìm kiếm một thiết bị đo lưu lượng chất lượng, hiệu quả và phù hợp với nhiều ứng dụng công nghiệp, F820s Series chắc chắn là một lựa chọn đáng cân nhắc.
CÔNG TY TNHH GV ENGINEERING – Gia Vũ Metal - đơn vị chuyên cung cấp các dòng đồng hồ áp suất Wise chính hãng,
Website: phukieninox24h.com
Điện thoại: 0932055778 - 0905948602 - 0986859648
Email: giavu.sales1@gmail.com
Hoặc truy cập website : https://phukieninox24h.com/
Copyright © 2017 phukieninox24h.com . All rights reserved